/ 24
PDF herunterladen
Deutscher Bundestag                                                                       Drucksache 19/22647 19. Wahlperiode                                                                                         17.09.2020 Antwort der Bundesregierung auf die Kleine Anfrage der Abgeordneten Susanne Ferschl, Matthias W. Birkwald, Sylvia Gabelmann, weiterer Abgeordneter und der Fraktion DIE LINKE. – Drucksache 19/21487 – Arbeitsverhältnisse ausländischer Beschäftigter am deutschen Arbeitsmarkt Vorbemerkung der Fragesteller Atypische Beschäftigungsverhältnisse, wie Teilzeitbeschäftigungen mit 20 oder weniger Arbeitsstunden pro Woche, geringfügige Beschäftigungen, be- fristete Beschäftigungen sowie Leiharbeitsverhältnisse, bleiben weit verbrei- tet. Sie sind häufig prekär, was sich vor allem an niedrigen, oft nicht existenz- sichernden Löhnen zeigt (vgl. DGB/HBS 2018, Atlas der Arbeit, S. 20, abruf- bar unter: http://www.dgb.de/++co++bf7e3e4a-51c1-11e8-b5ad-52540088cad a/Atlas-der-Arbeit.pdf). Die Corona-Pandemie hat den Blick auf die schlech- ten Arbeitsbedingungen in der Fleischindustrie und die Saisonarbeit in der Landwirtschaft gelenkt, die Teil der systemrelevanten Branchen sind. Insbe- sondere ausländische Beschäftigte sind hier tätig. Doch es steht nach Ansicht der Fragestellenden zu vermuten, dass ausländische Beschäftigte insgesamt überproportional von atypischer und prekärer Arbeit betroffen sind und sie auch in anderen schlecht bezahlten und unsicheren Arbeitsverhältnissen über- repräsentiert sind. Vor diesem Hintergrund stellt sich einerseits die Frage, wie sich atypische Beschäftigung und das Normalarbeitsverhältnis insbesondere mit Blick auf ausländische Beschäftigte entwickelt haben. Andererseits gilt es, besonders prekäre Branchen näher zu beleuchten. Vorbemerkung der Bundesregierung Die Antworten zu den Fragen 1 bis 13 beziehen sich auf die sogenannten Kern- erwerbstätigen aus der Berichterstattung der atypischen Beschäftigung des Sta- tistischen Bundesamtes. Kernerwerbstätige sind Erwerbstätige im Alter von 15 bis 64 Jahren, die sich nicht in Schulbildung oder Ausbildung befinden und we- der einen Wehr-, einen Zivil- noch einen Freiwilligendienst leisten. Die Antwortbeiträge beruhen auf Auswertungen des Mikrozensus. Die Ver- gleichbarkeit der Ergebnisse verschiedener Jahre ist durch methodische Ände- rungen eingeschränkt. Bis einschließlich der Erhebung 2010 wurde die Hoch- rechnung im Mikrozensus an die Bevölkerungsfortschreibung der Volkszählung 1987 bzw. des Bevölkerungsregisters der DDR aus dem Jahr 1990 vorgenom- men. Ab dem Jahr 2005 wurde der Mikrozensus von einer Erhebung mit fester Berichtswoche auf eine kontinuierliche Erhebung mit gleitender Berichtswoche Die Antwort wurde namens der Bundesregierung mit Schreiben des Bundesministeriums für Arbeit und Soziales vom 16. September 2020 übermittelt. Die Drucksache enthält zusätzlich – in kleinerer Schrifttype – den Fragetext.
1

Drucksache 19/22647                                         –2–              Deutscher Bundestag – 19. Wahlperiode umgestellt. Ab dem Berichtsjahr 2011 erfolgt die Hochrechnung anhand der Bevölkerungsfortschreibung auf Basis des Zensus 2011. Ab dem Jahr 2016 wurde die Stichprobe auf eine aktualisierte Auswahlgrundlage auf Basis des Zensus 2011 umgestellt. Seit dem Jahr 2017 bezieht sich der Mikrozensus auf die Bevölkerung in Privathaushalten (ohne Gemeinschaftsunterkünfte). Um den Migrationshintergrund von in Deutschland mit deutscher Staatsange- hörigkeit Geborenen zu bestimmen, werden Informationen zu den Eltern ver- wendet. Der Migrationshintergrund im engeren Sinn bedeutet, dass nur die In- formationen über die Eltern verwendet werden, die auch im gleichen Haushalt mit der befragten Person leben. Ausgewiesen werden nachfolgend Personen mit einem Migrationshintergrund im weiteren Sinn. Hierzu werden auch Infor- mationen zu den nicht mehr im selben Haushalt lebenden Eltern zugrunde ge- legt. Ab dem Jahr 2017 wurde die Erfassung der Zeit- bzw. Leiharbeit im Mi- krozensus von einer freiwilligen Auskunft auf eine Auskunftspflicht umgestellt. Zum Zeitpunkt der Erstellung der Antwort lagen Ergebnisse des Mikrozensus 2019 noch nicht vor, daher werden nachfolgend Ergebnisse bis zum Erhebungs- jahr 2018 dargestellt. Ergebnisse zu den Fragen 14 bis 20 basieren auf der Verdienststrukturerhebung des Statistischen Bundesamts. Bei der Verdienststrukturerhebung handelt es sich um eine vierjährlich durchgeführte Erhebung im Rahmen einer geschichte- ten Stichprobe bei rund 60.000 Betrieben zu Verdiensten und Arbeitszeiten der im Betrieb abhängig Beschäftigten. Seit dem Berichtsjahr 2014 werden im Berichtskreis der Verdienststrukturerhe- bung auch Kleinstbetriebe und der Wirtschaftsabschnitt A (Land- und Forst- wirtschaft) der Klassifikation der Wirtschaftszweige 2008 (WZ 2008) berück- sichtigt. Damit ist eine Abbildung der Gesamtwirtschaft hinsichtlich der Ver- dienste erstmals ab dem Berichtsjahr 2014 möglich. Eine Analyse der Beschäf- tigung mit Niedriglohn über die Berichtsjahre 2006 bis 2014 kann lediglich für Beschäftigungsverhältnisse in Betrieben mit zehn und mehr Beschäftigten des produzierenden Gewerbes und des Dienstleistungsbereichs zu Verfügung ge- stellt werden. Die Ergebnisse beziehen sich auf Beschäftigte im Alter von 15 bis 64 Jahren, ohne Auszubildende und Altersteilzeit und liegen nicht für die Gesamtwirtschaft vor. Ein separater Ausweis von atypischen Beschäftigungs- verhältnissen liegt für das Berichtsjahr 2014 vor, nicht jedoch für die Jahre zu- vor. Eine Abbildung der zeitlichen Entwicklung der Beschäftigung mit Niedrig- lohn ist daher nicht möglich. Aussagen zur Staatsangehörigkeit der Beschäftig- ten können in der Verdienststrukturerhebung nicht getroffen werden, da das Merkmal nicht erhoben wird. 1. Wie hat sich nach Kenntnis der Bundesregierung die Zahl der Beschäftig- ten in einem Normalarbeitsverhältnis in den vergangenen 20 Jahren entwi- ckelt (bitte für jedes Jahr einzeln sowohl die Gesamtzahl angeben als auch nach Beschäftigten mit deutscher Staatsangehörigkeit, mit Staatsangehö- rigkeit in EU-15-Ländern sowie mit Staatsangehörigkeit der restlichen EU-Länder und mit Drittstaatsangehörigkeit aufschlüsseln)? 2. Wie hat sich nach Kenntnis der Bundesregierung der Anteil der Beschäf- tigten in einem Normalarbeitsverhältnis an allen Arbeitsverhältnissen in den vergangenen 20 Jahren entwickelt (bitte für jedes Jahr einzeln sowohl die Gesamtzahl angeben als auch nach Beschäftigten mit deutscher Staats- angehörigkeit, mit Staatsangehörigkeit in EU-15-Ländern sowie mit Staatsangehörigkeit der restlichen EU-Länder und mit Drittstaatsangehö- rigkeit aufschlüsseln)? Die Fragen 1 und 2 werden gemeinsam beantwortet.
2

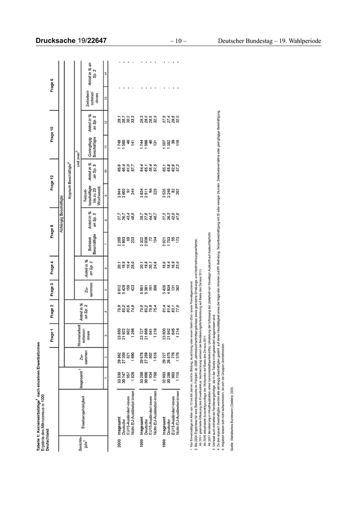
Deutscher Bundestag – 19. Wahlperiode                       –3–                          Drucksache 19/22647 Nach Ergebnissen des Mikrozensus gab es im Jahr 2018 rund 26,21 Millionen Erwerbstätige im Alter von 15 bis 64 Jahren, die in einem Normalarbeitsver- hältnis tätig waren. Dies entspricht einem Anteil von 77,7 Prozent an allen ab- hängig Beschäftigten im Alter von 15 bis 64 Jahren. Weitere Ergebnisse nach der erfragten Differenzierung können Tabelle 1 im Anhang entnommen wer- den. 3. Wie hat sich nach Kenntnis der Bundesregierung die Zahl der Beschäftig- ten in einem atypischen Arbeitsverhältnis in den vergangenen 20 Jahren entwickelt (bitte für jedes Jahr einzeln sowohl die Gesamtzahl angeben als auch nach Beschäftigten mit deutscher Staatsangehörigkeit, mit Staatsan- gehörigkeit in EU-15-Ländern sowie mit Staatsangehörigkeit der restli- chen EU-Länder und mit Drittstaatsangehörigkeit aufschlüsseln)? 4. Wie hat sich nach Kenntnis der Bundesregierung der Anteil der Beschäf- tigten in einem atypischen Arbeitsverhältnis an allen Arbeitsverhältnissen in den vergangenen 20 Jahren entwickelt (bitte für jedes Jahr einzeln so- wohl die Gesamtzahl angeben als auch nach Beschäftigten mit deutscher Staatsangehörigkeit, mit Staatsangehörigkeit in EU-15-Ländern sowie mit Staatsangehörigkeit der restlichen EU-Länder und mit Drittstaatsangehö- rigkeit aufschlüsseln)? Die Fragen 3 und 4 werden gemeinsam beantwortet. Nach Ergebnissen des Mikrozensus gab es im Jahr 2018 rund 7,51 Millionen Erwerbstätige im Alter von 15 bis 64 Jahren, die einer atypischen Beschäfti- gung nachgingen. Dies entspricht einem Anteil von 22,3 Prozent an allen ab- hängig Beschäftigten im Alter von 15 bis 64 Jahren. Weitere Ergebnisse nach der erfragten Differenzierung können Tabelle 1 im Anhang entnommen wer- den. 5. Welche sind nach Kenntnis der Bundesregierung die zehn Branchen mit dem höchsten Anteil an atypisch Beschäftigten, wie hoch ist dieser je- weils, und wie hoch ist der Anteil ausländischer Beschäftigter bzw. Be- schäftigter mit Migrationshintergrund in diesen Branchen? Ergebnisse des Mikrozensus zu den Wirtschaftsabschnitten mit den größten Anteilen an atypisch Beschäftigten können den Tabellen 2 und 3 im Anhang entnommen werden. 6. Wie haben sich nach Kenntnis der Bundesregierung die Zahl der Leihar- beitsbeschäftigten und deren Anteil an allen Beschäftigungsverhältnissen in den vergangenen 20 Jahren entwickelt (bitte für jedes Jahr einzeln so- wohl die Gesamtzahl angeben als auch nach Beschäftigten mit deutscher Staatsangehörigkeit, mit Staatsangehörigkeit in EU-15-Ländern sowie mit Staatsangehörigkeit der restlichen EU-Länder und mit Drittstaatsangehö- rigkeit aufschlüsseln)? Nach Ergebnissen des Mikrozensus gab es im Jahr 2018 rund 0,93 Millionen Erwerbstätige im Alter von 15 bis 64 Jahren, die als Leiharbeitnehmerinnen und Leiharbeitnehmer tätig waren. Dies entspricht einem Anteil von 2,7 Pro- zent an allen abhängig Beschäftigten im Alter von 15 bis 64 Jahren. Weitere Er- gebnisse nach der erfragten Differenzierung können Tabelle 1 im Anhang ent- nommen werden.
3

Drucksache 19/22647                                        –4–                Deutscher Bundestag – 19. Wahlperiode 7. Welches sind nach Kenntnis der Bundesregierung die zehn Branchen mit dem höchsten Anteil an Leiharbeitsbeschäftigten, wie hoch ist dieser je- weils, und wie hoch ist der Anteil ausländischer Beschäftigter bzw. Be- schäftigter mit Migrationshintergrund in diesen Branchen? Ergebnisse des Mikrozensus zu den Wirtschaftsabschnitten mit den größten Anteilen an Leiharbeitnehmerinnen und Leiharbeitnehmern können den Tabel- len 4 und 5 im Anhang entnommen werden. 8. Wie haben sich nach Kenntnis der Bundesregierung die Zahl der befristet Beschäftigten und deren Anteil an allen atypischen Arbeitsverhältnissen in den vergangenen 20 Jahren entwickelt (bitte für jedes Jahr einzeln sowohl die Gesamtzahl angeben als auch nach Beschäftigten mit deutscher Staats- angehörigkeit, mit Staatsangehörigkeit in EU-15-Ländern sowie mit Staatsangehörigkeit der restlichen EU-Länder und mit Drittstaatsangehö- rigkeit aufschlüsseln)? Nach Ergebnissen des Mikrozensus gab es im Jahr 2018 rund 2,46 Millionen Erwerbstätige im Alter von 15 bis 64 Jahren, die in einem befristeten Beschäfti- gungsverhältnis tätig waren. Damit standen 32,8 Prozent aller atypisch Be- schäftigten in einem befristeten Beschäftigungsverhältnis. Weitere Ergebnisse nach der erfragten Differenzierung können Tabelle 1 im Anhang entnommen werden. 9. Welche sind nach Kenntnis der Bundesregierung die zehn Branchen mit dem höchsten Anteil an befristet Beschäftigten, wie hoch ist dieser je- weils, und wie hoch ist der Anteil ausländischer Beschäftigter bzw. Be- schäftigter mit Migrationshintergrund in diesen Branchen? Ergebnisse des Mikrozensus zu den Wirtschaftsabschnitten mit den größten Anteilen an befristet Beschäftigten können den Tabellen 6 und 7 im Anhang entnommen werden. 10. Wie haben sich nach Kenntnis der Bundesregierung die Zahl der gering- fügig Beschäftigten und deren Anteil an allen atypischen Arbeitsverhält- nissen in den vergangenen 20 Jahren entwickelt (bitte für jedes Jahr ein- zeln sowohl die Gesamtzahl angeben als auch nach Beschäftigten mit deutscher Staatsangehörigkeit, mit Staatsangehörigkeit in EU-15-Län- dern sowie mit Staatsangehörigkeit der restlichen EU-Länder und mit Drittstaatsangehörigkeit aufschlüsseln)? Nach Ergebnissen des Mikrozensus gab es im Jahr 2018 rund 2,05 Millionen Erwerbstätige im Alter von 15 bis 64 Jahren, die geringfügig beschäftigt waren. Damit waren 27,3 Prozent aller atypisch Beschäftigten geringfügig tätig. Weite- re Ergebnisse nach der erfragten Differenzierung können Tabelle 1 im Anhang entnommen werden. 11. Welche sind nach Kenntnis der Bundesregierung die zehn Branchen mit dem höchsten Anteil an geringfügig Beschäftigten, wie hoch ist dieser je- weils, und wie hoch ist der Anteil ausländischer Beschäftigter bzw. Be- schäftigter mit Migrationshintergrund in diesen Branchen? Ergebnisse des Mikrozensus zu den Wirtschaftsabschnitten mit den größten Anteilen an geringfügig Beschäftigten können den Tabellen 8 und 9 im Anhang entnommen werden.
4

Deutscher Bundestag – 19. Wahlperiode                     –5–                           Drucksache 19/22647 12. Wie haben sich nach Kenntnis der Bundesregierung die Zahl von Teil- zeitbeschäftigten und deren Anteil an allen atypischen Arbeitsverhältnis- sen in den vergangenen 20 Jahren entwickelt (bitte für jedes Jahr einzeln sowohl die Gesamtzahl angeben als auch nach Beschäftigten mit deut- scher Staatsangehörigkeit, mit Staatsangehörigkeit in EU-15-Ländern so- wie mit Staatsangehörigkeit der restlichen EU-Länder und mit Dritt- staatsangehörigkeit aufschlüsseln)? Nach Ergebnissen des Mikrozensus gab es im Jahr 2018 rund 4,64 Millionen Erwerbstätige im Alter von 15 bis 64 Jahren, die in Teilzeit bis zu 20 Stunden in der Woche tätig waren. Dies entspricht einem Anteil von 61,8 Prozent an al- len atypisch Beschäftigten. Weitere Ergebnisse nach der erfragten Differenzie- rung können Tabelle 1 im Anhang entnommen werden. 13. Welche sind nach Kenntnis der Bundesregierung die zehn Branchen mit dem höchsten Anteil an Teilzeitbeschäftigten, wie hoch ist dieser jeweils, und wie hoch ist der Anteil ausländischer Beschäftigter bzw. Beschäftig- ter mit Migrationshintergrund in diesen Branchen? Ergebnisse des Mikrozensus zu den Wirtschaftsabschnitten mit den größten Anteilen an Teilzeitbeschäftigten können den Tabellen 10 und 11 im Anhang entnommen werden. 14. Wie hat sich nach Kenntnis der Bundesregierung die Zahl der Niedrig- lohn-beschäftigten und deren Anteil an allen Beschäftigten in den ver- gangenen 20 Jahren entwickelt (bitte für jedes Jahr einzeln sowohl die Gesamtzahl angeben als auch nach Beschäftigten mit deutscher Staatsan- gehörigkeit, mit Staatsangehörigkeit in EU-15-Ländern sowie mit Staats- angehörigkeit der restlichen EU-Länder und mit Drittstaatsangehörigkeit aufschlüsseln)? 15. Wie viele der Beschäftigten in einem Normalarbeitsverhältnis wurden nach Kenntnis der Bundesregierung in den vergangenen 20 Jahren abso- lut und prozentual unterhalb der Niedriglohnschwelle von zwei Drittel des Medians entlohnt (bitte für jedes Jahr einzeln sowohl die Gesamtzahl angeben als auch nach Beschäftigten mit deutscher Staatsangehörigkeit, mit Staatsangehörigkeit in EU-15-Ländern sowie mit Staatsangehörigkeit der restlichen EU-Länder und mit Drittstaatsangehörigkeit aufschlüs- seln)? 16. Wie viele der Beschäftigten in einem atypischen Arbeitsverhältnis wur- den nach Kenntnis der Bundesregierung in den vergangenen 20 Jahren absolut und prozentual unterhalb der Niedriglohnschwelle von zwei Drit- tel des Medians entlohnt (bitte für jedes Jahr einzeln sowohl die Gesamt- zahl angeben als auch nach Beschäftigten mit deutscher Staatsangehörig- keit, mit Staatsangehörigkeit in EU-15-Ländern sowie mit Staatsangehö- rigkeit der restlichen EU-Länder und mit Drittstaatsangehörigkeit auf- schlüsseln)? 17. Wie viele der Leiharbeitsbeschäftigten wurden nach Kenntnis der Bundesregierung in den vergangenen 20 Jahren absolut und prozentual unterhalb der Niedriglohnschwelle von zwei Drittel des Medians ent- lohnt (bitte für jedes Jahr einzeln sowohl die Gesamtzahl angeben als auch nach Beschäftigten mit deutscher Staatsangehörigkeit, mit Staatsan- gehörigkeit in EU-15-Ländern sowie mit Staatsangehörigkeit der restli- chen EU-Länder und mit Drittstaatsangehörigkeit aufschlüsseln)?
5

Drucksache 19/22647                                         –6–                Deutscher Bundestag – 19. Wahlperiode 18. Wie viele der befristet Beschäftigten wurden nach Kenntnis der Bundes- regierung in den vergangenen 20 Jahren absolut und prozentual unterhalb der Niedriglohnschwelle von zwei Drittel des Medians entlohnt (bitte für jedes Jahr einzeln sowohl die Gesamtzahl angeben als auch nach Be- schäftigten mit deutscher Staatsangehörigkeit, mit Staatsangehörigkeit in EU-15-Ländern sowie mit Staatsangehörigkeit der restlichen EU-Länder und mit Drittstaatsangehörigkeit aufschlüsseln)? 19. Wie viele geringfügig Beschäftigte erhielten nach Kenntnis der Bundes- regierung in den vergangenen 20 Jahren Stundenlöhne, die absolut und prozentual unterhalb der Niedriglohnschwelle von zwei Drittel des Medi- ans lagen (bitte für jedes Jahr einzeln sowohl die Gesamtzahl angeben als auch nach Beschäftigten mit deutscher Staatsangehörigkeit, mit Staatsan- gehörigkeit in EU-15-Ländern sowie mit Staatsangehörigkeit der restli- chen EU-Länder und mit Drittstaatsangehörigkeit aufschlüsseln)? 20. Wie viele der Teilzeitbeschäftigten wurden nach Kenntnis der Bundes- regierung in den vergangenen 20 Jahren absolut und prozentual unterhalb der Niedriglohnschwelle von zwei Drittel des Medians entlohnt (bitte für jedes Jahr einzeln sowohl die Gesamtzahl angeben als auch nach Be- schäftigten mit deutscher Staatsangehörigkeit, mit Staatsangehörigkeit in EU-15-Ländern sowie mit Staatsangehörigkeit der restlichen EU-Länder und mit Drittstaatsangehörigkeit aufschlüsseln)? Die Fragen 14 bis 20 werden gemeinsam beantwortet. Amtliche Daten zum sogenannten Niedriglohnbereich differenziert nach der Beschäftigungsart werden vom Statistischen Bundesamt auf Basis der alle vier Jahre stattfindenden Verdienststrukturerhebung zur Verfügung gestellt. Aussa- gen über die gesamte Wirtschaft (einschließlich Land- und Forstwirtschaft und Betriebe mit weniger als zehn Beschäftigten) können nur für das aktuellste ver- fügbare Berichtsjahr 2014 getroffen werden. Durch die Erweiterung des Be- richtskreises ist eine Entwicklung im zeitlichen Verlauf nicht darstellbar. Die Staatsangehörigkeit ist kein Bestandteil des Merkmalskatalogs dieser Erhe- bung. Soweit Daten in den erfragten Differenzierungen vorliegen, können diese den Tabellen 12 und 13 im Anhang entnommen werden. Im Hinblick auf die Verdienste von Leiharbeitnehmerinnen und Leiharbeitneh- mern ist zu berücksichtigen, dass sich Beschäftigte in der Leiharbeit und Be- schäftigte in anderen Branchen teils erheblich voneinander unterscheiden, bei- spielsweise in ihren soziodemo-graphischen Eigenschaften oder in der Stabili- tät ihrer individuellen Erwerbsbiographien. Auch die Beschäftigungsstruktur in der Arbeitnehmerüberlassung unterscheidet sich von der Beschäftigung insge- samt merklich. So übt in der Leiharbeit gut die Hälfte aller Vollzeitbeschäftig- ten (ohne Auszubildende) eine Helfertätigkeit aus, die im Allgemeinen eine niedrigere Entlohnung mit sich bringt.
6

Deutscher Bundestag – 19. Wahlperiode –7– Drucksache 19/22647
7

Drucksache 19/22647 –8– Deutscher Bundestag – 19. Wahlperiode
8

Deutscher Bundestag – 19. Wahlperiode –9– Drucksache 19/22647
9

Drucksache 19/22647 – 10 – Deutscher Bundestag – 19. Wahlperiode
10

Zur nächsten Seite