status-1996-1997-geschwaerzt

This document is part of the request ”Belastungskataloge Kernkraftwerk Neckarwestheim”.

/ 60
PDF herunterladen
wa
                                                                                                                                                                                                                                                                                                                                                                             GKN




                                                                                                                                                                                                                                                                        Gemeinachaftskerrkraftwerk
                                                                                                                                                                                                                                                                                                                 Neckar        GmbH
                                                                                                                                                                                                                                                                                                                                                                                 II




    400

                                                                                                                                                                                                                                                                          Meßstellen




                                                                                                                                                                                                                                                                         KBA11CT201




350
                                                                                                                                                                                                                                                                        KBA11CT202




                                                                                                                                                                                                                                                                       JDH20CT001




300
                                                                                                                                                                                                                                                                                                                                                       hier: Statusbericht




250
                                                                                                                                        N                       '
                                 WU

                                                                                                                                                       W                                          Pi
z00
O                                                                                                                                                                   m                                                                                                                                                         JOH20




                                                                                                                                                                                                                                                                                                                              AA014
                                                                                                                                                                                                                                                                                                                                                                         Betriebszyklus1996/97




150
                                                                                                                                                                                                                                                                                                                                                       On-lineErfassungder Betriebstransienten




                                                                                                                                                                                                                                                                                                                                         wr
100                                                                                                                                                                                                                                                                                                                                               SC
                                                                                                                                                                                                                                                                                                                          PN


                                                                                                                                                                                                                                                                                                                                      KBA117201




                                                                                                                                                                                                                                                                                                     aA   yon“

    50                                                                                                                                                                                                                                                                                                     0?




                                                                                                                                                                                                                                                                                                                                      KBATIT202




                           rtT                       T——                   1   ttet                                       LANE    Bun Emm van          Ä
                                                 T                         T                                                                               ot       tet                    TT                                                     .1rT
      0                                          j                                                  T tt
                                                                                                    i                 +                                                                                                   |   IT
                                                                                                                                                                                                                                              T
      19.08.96                        30.09.96                  11.11.96              23.12.96             03.02.97                         17.03.97
                                                                                                                                                       !                  28.04.97
                                                                                                                                                                                      lf
                                                                                                                                                                                                      09.06.97                     21.07.97
                                                                                                                                                                                                                                              l
                                                                                                                                                                                                                          '                              01.09.97




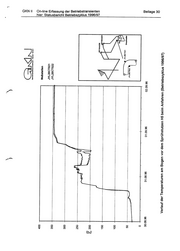
                 Verlauf                         Temperaturen
                                                                                                 Bereich               JDH-Einbindung
                                      der                                                                                                                                                             Rückspeiseleitung
                                                                                                                                                                                                                                                                                                                                                                       Beilage23




                                                                                      im                        der                                                                             der                                                      KBA11      (Betriebszyklus
                                                                                                                                                                                     an                                                                                                                                   1996/97)
31

zn
                                                                                                                                                                                                                                                                                                   arkln|
                                                                                                                                                                                                                                                                                                                                                                                                   GKN
                                                                                                                                                                                                                                                                                                                                                                                                     Il




    400

                                                                                                                                                                                                                                                                                                   Meßstellen




                                                                                                                                                                                                                                                                                                  KBA12CT071




    350
                                                                                                                                                                                                                                                                                                  KBA12CT072




    300
                                                                                                                                                                                                                                                                                                                                                                             hier: Statusbericht




    250




D
    200
u

                                                                                                                                                                                                                                                                                                                   ont
                                                                                                                                                                                                                                                                                                                                                                                               Betriebszyklus1996/97




    150                                                                                                                                                                                                                                                                                                                               12,
                                                                                                                                                                                                                                                                                                                         we
                                                                                                                                                                                                                                                                                                                                                                 HOUEZLVEN
                                                                                                                                                                                                                                                                                                                                                                             On-lineErfassungder Betriebstransienten




                                                                                                                                                                                                                                                                                                                              KBA12




                                                                                                                                                                                                                                                                                                                              cTort
                                                                                                                                                                                                                                                                                                                                                     or 2
                                                                                                                                                                                                                                                                                                                                                      Pr
    100

                                                                                                                                                                                                                                                                                                                                        KBA12




                                                                                                                                                                                                                                                                                                                                            cT072
                                                                                                                                                                                                                                                                                                                                                               NOoyazivax




     50                                 eg
                                       De                                                       ee
                                                                                                                                                            ne
                                                                                                                                                                                                                                           EZ
                                                                                                                                                                                                                                                                                 re




                               ITm—T
                                                               TT—T
                                                                                          I—T

                                                        1                                                             et               tt              Tr                                                              un                       ———T
                                                                                                                 T                                                                                                                                                          —r
          0                                                                           r                                                                                       T
                                                                                                                                                                                                I                                      Ü
          19.08.96                           30.09.96                      11.11.96                  23.12.96                           03.02.97
                                                                                                                                                   !             17.03.97                               28.04.97
                                                                                                                                                                                                                   f        09.06.97
                                                                                                                                                                                                                                                                  !
                                                                                                                                                                                                                                                       21.07.97                       01.09.97




                     Verlauf                                Temperaturen                                                                                                    Rekuperativ-Wärmetauscher
                                                                                                                           Umfahrung
                                                                                                                                                                                                                                                                  KBA12BC.001
                                                                                                                                                                                                                                                                                                                                                                                              Beilage24




                                                                                                                                                                                                                                                                                                 (Betriebszyklus
                                              der                                                    an         der                                         des
                                                                                                                                                                                                                                                                                                                                                    1996/97)
32

GKN Il   On-lineErfassungder Betriebstransienten                        Beilage 25
               hier: Statusbericht
                                 Betriebszyklus1996/97



      Komponente: SPRÜHLEITUNGEN
      Betriebsjahr: 1996/97

      Bemerkungen:
      Wie in den Vorjahrentratendie meistensignifikantenÄnderungenim Rahmen von
      An- und Abfahrvorgängen auf. Die zusätzlichen Belastungen durch die
      PhysikversucheentsprechenetwaeinemAn- und Abfahrvorgang.

      Damitändertsich nichtsan dem früherextrapolierten
                                                      Erschöpfungsgrad.




      -   maximaleÄnderungsgeschwindigkeit: max.12,4K/sec
      -   maximalerDruck                                162 bar

      -   Maximaltemperatur                             348 °C




      Zyklenan den Sprühleitungen
                                und Hilfssprühleitungen:

y——
                                   Anzahlder Zyklen im Betriebszyklus

                                           Ap=155 bar             AT=325 °C


      AnfahrenAugust96                         -
      AbfahrenAugust97                         1




      Summe
33

j—
                                                                                                                                                                                                                                                                           —Anln|
                                                                                                                                                                                                                                                                                                                                                                                                                                            GKN




                                                                                                                                                                                                                                                                         Gemelinschaftiskernkraftwerk
                                                                                                                                                                                                                                                                                                                                       Neckar             GmoH
                                                                                                                                                                                                                                                                                                                                                                                                                                                  Il




       400
                                                                                                                                                                                                                                                                            Meßstellen




                                                                                                                                                                                                                                                                          JYL20CT181




       350                                                                                                                                                                                                                                                               JYL20CT182




                                                                                                                                                                 3
                                                                                                                                                            GRREEEDERESEEE
       300




                                                                                                                                                            I
                                                                                                                                                                                                                                                                                                                                                                                              hier: Statusbericht




  a
  o
         5

       200




[de]
                                                                                                                                                                                                                                                                                                                                                                    JEF10AA232
                                                                                                                                                                                                                                                                                                                                                                                 JEF1O


                                                                                                                                                                                                                                                                                                                                                                                 AA233|


                                                                                                                                                                                                                                                                                                                                                                                          1
                                                                                                                                                                                                                                                                                                                                                                                                                Betriebszyklus1996/97




       150
                                                                                                                                                                                                                                                                                                                                                                                                                                        Onr-lineErfassungder Betriebstransienten




                                                                                                                                                                                                                                                                                                                                            Druckhalter




       100

                                                                                                                                                                                                                                                                                                                                 ee”
                                                                                                                                                                                                                                                                                                                                  ur
                                                                                                                                                                                                                                                                                                                   JSYL2OCTISI




        50
                                                                                                                                                                                                                                                                                                                                                           JYL2OCT182




                        TOT              L                                  T——r                   L
                                             Tr                                                                            Denn                                                                                       L   IT——
             0                           1                                                         T   Ir                                            tt
                                                                                                                                                                                        1    IT                                                          ——

                                                                       rl                                              v
                                                                                                                       |                                                            T                                 T                        T
             19.08.96         30.09.96                      11.11.96                  23.12.96              03.02.97                 17.03.97
                                                                                                                                                r}                           28.04.97
                                                                                                                                                                                                                                               l
                                                                                                                                                                                                           09.06.97              21.07.97                     01.09.97
                                                                                                                                                                                        '

                                                  Verlauf                           Temperaturen
                                                                                                                                                                                            Sprühstutzen
                                                                                                                                                                                                                                                                                                                                                                                                                                   Beilage26




                                                                                                                                  Bogen                                                                                                     (Betriebszyklus
                                                                              der                                          am                         vor              dem                                                                                                                              1996/97)
                                                                                                                                                                                                                                 H2
34

ann]
                                                                                                                                                                                                                                                                                           GKN Il




      400

                                                                                                                                                                               Meßstellen




                                                                                                                                                                              JYL20CT181




      350                                                                                                                                                                     JYL20CT182




      300
                                                                                                                                                                                                                                                                     hier: Statusbericht




      250                                                                  u)
                                                                 AS
                                                                                                                              .




D
      200
130



                                                                                                                                                                                                                                                JEFIOAA232

                                                                                                                                                                                                                                                             JEF10
                                                                                                                                                                                                                                                                                       Betriebszyklus1996/97




      150
                                                                                                                                                                                                                      H3
                                                                                                                                                                                                                                                                     On-lineErfassungder Betriebstransienten




                                                                                                                                                                                                                     Druckhalter




      100

                                                                                                                                                                                                          ee”
                                                                                                                                                                                                          m
                                                                                                                                                                                            JSYL2OCT181




       50
                                                                                                                                                                                                                                   JYLDOCTIE2




            30.08.96
                                                      31.08.96
                                                                                                                   01.09.96
                                                                                                                                                         02.09.96




                       Verlauf         Temperaturen
                                                                                Bogen               Sprühstutzen
                                                                                                                                                                                                                                                                                       Beilage 27




                                 der                                                          dem                                             Anfahren      (Betriebszyklus
                                                                      am                vor                                       H2   beim                                                               1996/97)
35

„ren
                                                                                                                                                                                                                                    —Anln|
                                                                                                                                                                                                                                                                                                                                            GKNIl




       400
                                                                                                                                                                                                                                    Meßstellen




                                                                                                                                                                                                                                    JYL20CT181




       350                                                                                                                                                                                                                          JYL20CT182




       300
                                                                                                                                                                                                                                                                                                                      hier: Statusbericht




       250




       200




Id.J
                                                                                                                                                                                                                                                                                                 JEF10AA232
                                                                                                                                                                                                                                                                                                              JEF10
                                                                                                                                                                                                                                                                                                                                        Betriebszyklus1996/97




       150
                                                                                                                                                                                                                                                                                                                      On-lineErfassungder Betriebstransienten




                                                                                                                                                                                                                                                                      Druckhalter




       100


                                                                                                                   ug                                                                                                                                      er
                                                                                                                                                                                                                                                            as
                                                                                                                                                                                                                                                 SYL2OCT
                                                                                                                                                                                                                                                               181


        50
                                                                                                                                                                                                                                                                                    JYL20CT122
                                                                                                                                                                                                                                                           I
                        T        T    T                   T           T   T                            T
             0                                    }T                                 IF   r    r                         T     T                  T                   T                                       T
                                                                                                                                                             l1                r                     r    r
             15.08.97                 16.08.97                            17.08.97                      18.08.97                                  19.08.97
                                                                                                                                                                  ’                       l1
                                                                                                                                                                               20.08.97
                                                                                                                    t                                                                                         21.08.97




                            Verlauf                    Temperaturen                                                                Sprühstutzen
                                                                                                                                                                                                                                                                                                                                        Beilage28




                                                 der                                           Bogen                     dem                                                   beim            Abfahren           (Betriebszyklus
                                                                                          am                       vor                                                    H2                                                                               1996/97)
36

I
                                                                                                                                                                                                                                                                                                                                                                     ..




                                                                                                                                                                                                                                                           —Anln|
                                                                                                                                                                                                                                                                                                                                                 GKN Il




        400
                                                                                                                                                                                                                                                            Meßstellen




                                                                                                                                                                                                                                                           JYL20CT021




        350                                                                                                                                                                                                                                                JYL20CT022




        300
                                                                                                                                                                                                                                                                                                                           hier: Statusbericht




        >
        an
          5

        200




[0.1]
                                                                                                                                                                                                                                                                                              JEFIOAA20
                                                                                                                                                                                                                                                                                                                                             Betriebszyklus1996/97




                                                                                                                                                                                                                                                                                                               EFIOAA231

        150
                                                                                                                                                                                                                                                                                                                           On-lineErfassungder Betriebstransienten




        100



                                                                                                                                                                                                                                                                                                                  HS




                                                                                                                                                                                                                                                                                 JYL20CTO2t




                                                                                                                                                                                                                                                                                                          Druckhaiter




         50
                                                                                                                                                                                                                                                                    JYL20CTO22




                              FOTTT      L   TIT—T                        L
                         IT                                                   Tr                       IT                                            mr
                                                                                                                                                                      1
                                                                                                                            IT                                              rrT                          IT
                                                                                                                                                                                                                              L
              0                          1                                                         1                   T                                                                                                                   Tr
                                                                          I                        l                   |                                                                            lT                        T
              19.08.96        30.09.96                         11.11.96                 23.12.96            03.02.97                 17.03.97
                                                                                                                                                fl         28.04.97
                                                                                                                                                                      !                  09.06.97             21.07.97                          01.09.97
                                                                                                                                                                                                                                                                                                                                           Beilage29




                                                     Verlauf                        Temperaturen
                                                                                                                                                                          Sprühstutzen
                                                                                                                                 Bogen                                                                                   (Betriebszyklus
                                                                              der                                          am                        vor   dem                                                                                                      1996/97)
                                                                                                                                                                                                              H5
37

a.




                                                                                                                                                                ar<ln
                                                                                                                                                                                                                                                                                            GKN




                                                                                                                                                              Gemeinschaftakarnkraftwerk
                                                                                                                                                                                                                       Neckar   GmbH
                                                                                                                                                                                                                                                                                               Il




    400
                                                                                                                                                                Meßstellen




                                                                                                                                                              JYL20CT0O21




    350                                                                                                                                                       JYL20CTO22




    300
                                                                                                                                                                                                                                             |
                                                                                                                                                                                                                                                                      hier: Statusbericht




     >
    N
D
    200
2

                                                                                                                                                                                                                                JEFIOAA230
                                                                                                                                                                                                                                                                                        Betriebszyklus1996/97




                                                                                                                                                                                                                                                           FIOAAZIT
    150
                                                                                                                                                                                                                                                                      On-lineErfassungder Betriebstransienten




    100



                                                                                                                                                                                                                                                      HS




                                                                                                                                                                                                                   JYL2OCTO2




                                                                                                                                                                                                                                             Druckhalter




     50
                                                                                                                                                                                           JYL20CT022




          30.08.96
                                                    31.08.96
                                                                                                       01.09.96
                                                                                                                                         02.09.96
                                                                                                                                                                                                                                                                                       Beilage 30




                     Verlauf         Temperaturen                                       Sprühstutzen
                                                                    Bogen         dem                                         Anfahren      (Betriebszyklus
                               der                             am           vor                                   H5   beim                                                                             1996/97)
38

..
                                                                                                                                                                                                                                                                                                                     GKN



                                                                                                                                                                                                        an
                                                                                                                                                                                                                                                                                                                          II




      400
                                                                                                                                                                                                        Meßstellen




                                                                                                                                                                                                        JYL20CT021




                                                                                                                                                                                                        JYL20CTO22

      350




      300
                                                                                                                                                                                                                                                                                                hier: Statusbericht




      250




[
oO
      200
[ar



                                                                                                                                                                                                                                                          JEF10AA230
                                                                                                                                                                                                                                                                                                                  Betriebszyklus1996/97




                                                                                                                                                                                                                                                                                     FI0AAZ31



      150
                                                                                                                                                                                                                                                                                                On-lineErfassungder Betriebstransienten




      100


                                                                                                                                                                                                                                                                               H5



                                                                                                                                                                                                                                             JYL20CTO21




                                                                                                                                                                                                                                                                       Druckhalter




       50                                                                                                                                                                                                            JYL20CT022




            9)                                   L                                                           L                                                    N
                       T             T                   T           T              T            T                T                                    T                    T    nu
                                                 T                              }
                                                                                T
            15.08.97                 16.08.97                        17.08.97
                                                                                                             r
                                                                                                 18.08.97                              19.08.97        20.08.97                   21.08.97
                                                                                                                                                                                                                                                                                                                    Beilage 31




                                                      Temperaturen                                                      Sprühstutzen                                  Abfahren        (Betriebszyklus
                           Verlauf                                                       Bogen                    dem                                  beim                                                                       1996/97)
                                                der                                 am                      vor                                   H5


                                                                                                                                   /
39

.'



                                                                                                                                                                                                                                                                                       Ann
                                                                                                                                                                                                                                                                                                                                                                                                           GKN




                                                                                                                                                                                                                                                                                     Gemeinschaftskernkraftwerk
                                                                                                                                                                                                                                                                                                                                                 Neckar   GmbH
                                                                                                                                                                                                                                                                                                                                                                                                              Il




    400

                                                                                                                                                                                                                                                                                       Meßstellen




                                                                                                                                                                                                                                                                                     JYL10CT011




    350                                                                                                                                                                                                                                                                              JYL10CT012
                                                                                                                                                                                                                                                                                                                                                           |
                                                                                                                                                                                                                                     A
    300
                                                                                                                                                                                                                                                                                                                                                                                     hier: Statusbericht




    250




D
    200
u
                                                                                                                                                                                                                                                                                                                                   KBA10


                                                                                                                                                                                                                                                                                                                                   AA005
                                                                                                                                                                                                                                                                                                                                                                                                       Betriebszyklus1996/97




    150
                                                                                                                                                                                                                                                                                                                                                                                     On-lineErfassungder Betriebstransienten




                                                                                                                                                                                                                                                                                                                                                                 wenn
                                                                                                                                                                                                                                                                                                                                                                        4ayeyyan q




    100

                                                                                                                                                                                                                                                                                                                                                                   u.




                                                                                                                                                                                                                                                                                                                                           JYLIOCTON




     50
                                                                                                                                                                                                                                                                                                                  JYLI10CTO12
                                                                                                                                                                                                                                                                      nn




                     IT.m—T
                                             T—T
                                         1                        L                                   L   T——r
                                                                                                                                                                TTT                                        TT—T
                                                                        m                                                                      TtT                                                                           L                      4
          0                              T                        F                                   T                           tt                      }                                                                                              IT
                                                                                                                             i\                                                                                              1 tt                   T
          19.08.96            30.09.96                 11.11.96                            23.12.96              03.02.97                      17.03.97
                                                                                                                                                          !                 28.04.97
                                                                                                                                                                                            jt                    09.06.97          21.07.97                              01.09.97




                                             Verlauf                        Temperaturen
                                                                                                                                                                                       Hilfssprühstutzen
                                                                                                                                       Bogen                                                                                                            (Betriebszyklus
                                                                                                                                                                                                                                                                                                                                                                                                       Beilage 32




                                                                  der                                                       am                            vor         dem                                                                                                                                                       1996/97)
                                                                                                                                                                                                                                               H4




                                                                                                                                                                                                                                                                          |
40

Go to next pages